在线客服系统
收藏本站
期刊合作
首页
论文刊登期刊
服务流程
免费论文
问题答疑
信用说明
出书咨询
联系我们
当前位置:
>
征稿授权
>
新闻出版总局查询截图
>
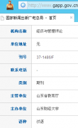
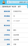
当代农村财经
现代物业
知识经济
财经理论研究
中国对外贸易
区域经济评论
现代营销
经济与管理评论
企业技术开发
商情
金融经济
技术经济与管理研究
QQ在线咨询
陈老师:
275774677
张老师:
1003180928
李老师:
610071587
刘老师:
1003160816
论文刊登热线:
137-7525-9981
微信号咨询:
fabiaoba-com
友情链接
申请链接
中国期刊库
发表辅导
中国论文网
中国知网
龙源期刊网
万方期刊网
维普期刊网
新闻出版总署
投稿辅导
发表期刊
期刊发表